行业动态

了解最新公司动态及行业资讯

污染土壤修复的设备都包括什么呢

2018-03-08 08:16:58 166 编辑:admin 来源:本站
         土壤本来是各类废弃物的天然收容所和净化处理场所,当土壤中收容的各类污染物过多,影响和超过了土壤的自净能力,土壤自身也需要进行土壤修复。造成土壤污染的原因有很多,其中污染土壤修复治理已成为重中之重。
 
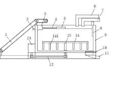
          污染土壤修复的设备,包括混合池,所述混合池的一侧安装有输送带,所述输送带通过支架固定连接在所述混合池上,所述混合池的底部中心位置通过轴承安装有主轴,所述主轴的顶部固定连接有搅拌杆,所述搅拌杆的底部固定设置有梳齿,所述混合池的下方的外侧固定设置有搅拌电机,所述搅拌电机通过皮带与所述主轴的底部的带轮传动连接,所述,所述混合池内部的上方固定设置有水泵,所述水泵通过软管连接有浮板,所述混合池内部的一侧固定设置有PH检测仪,所述PH检测仪的检测探头位于液面以下。本发明可实现土壤修复的一体加工,控制方便,具有结构简单、使用效果好等优点。

30

装备制造经验

立即免费获取土壤修复方案

为用户提供及时、高效、便捷的服务

在线咨询
AG亚游环境希望与你携手,共创美好未来...
5