公司动态

了解最新公司动态及行业资讯

盐碱污染土壤热解吸修复技术原理

2017-10-10 02:08:12 183 编辑:admin 来源:本站
  附图说明
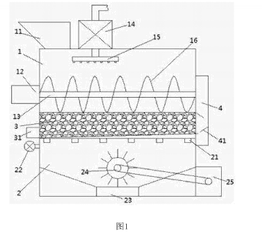
  图l为盐碱污染土壤热解吸修复的结构示意图。
盐碱污染土壤热解吸修复的结构示意图
  图中卜清洗腔,11-进料口,12-第一电机,13-绞龙轴,14-水泵,15-喷淋管,16-绞龙叶片,2-干燥腔,21-微波加热器,22-排风机,23-出料口,24-翻转辊,25-第二电机,3-溢流层,31-排水口,4-连接箱,41-导向板。
  具体实施方式
  请参阅图1,本实用新型实施例中,一种盐碱污染土壤热解吸净化装置,包括从上至下依次设置的清洗腔l、溢流层3和干燥腔2,所述溢流层3与清洗腔l的连接面为带有多个通孔的隔板,溢流层3内填充有鹅卵石,溢流层3底部为斜台,在溢流层3侧面开设有与溢流层3内相连通的排水口31,所述排水口31与斜台最低端对接,在清洗腔l顶部开设有进料口11,进料口11呈向下收口状,在清洗腔l顶部还设有水泵14.水泵14的输出端连接有位于清洗腔l内顶部的喷淋管15,在清洗腔l左侧面设有第一电机12,第一电机12的输出轴连接有水平方向的绞龙轴13,所述绞龙轴13位于清洗腔l内、喷淋管15下方,在绞龙轴13上设有螺旋状的绞龙叶片16,在清洗腔l右侧面下部设有连接箱4,所述连接箱4下端固定在干燥腔2右侧面上部,连接箱4上下两端分别与清洗腔l和干燥腔2相连通,在连接箱4内设有两个交错设置的导向板41:所述干燥腔2内项面上安装有多个微波加热器21,干燥腔2内下部呈向下收口的漏斗状,在干燥腔2底部中央设有出料口23,出料口23内设有密封门,在出料口23上方设有翻转辊24,翻转辊24两端与干燥腔2内壁转动连接,在翻转辊24表面沿圆周方向设有多个翻料板,在干燥腔2右侧外壁上固定有第二电机25,所述第二电机25的输出轴与翻转辊24-端通过传动带传动连接,在干燥腔2左侧壁上部设有排风机22,所述排风机22的进气端与干燥腔2内部相连通;
  装置进行工作时,将盐碱污染土壤从进料口11持续向清洗腔1内加入,通过水泵14将自来水引入并通过喷淋管15将水向土壤中喷洒,启动第一电机12,使土壤与水充分混合,水与土壤中的盐碱和重金属化学物融合,并在重力作用下通过隔板上的通孔进入溢流层3内,并最终由排水口31排出集中收集处理,土壤通过清洗后大大降低盐碱含量及重金属污染物的含量,清洗后的土壤在绞龙轴13和绞龙叶片16的作用下向连接箱4方向移动并通过连接箱4进入干燥腔2内,启动微波加热器21和第二电机25,利用微波加热器21提高加热腔2内温度使土壤内剩余水分蒸发,并且利用温度升高使土壤内残余的污染物解吸出来,第二电机25带动翻转辊24转动进而使干燥腔2内的土壤加热均匀,水分蒸发和解吸作用充分,启动排风扇22将干燥腔2内湿热的空气排出,进一步提高干燥效果,而连接箱4内的导向板41有效减少了清洗腔1与干燥腔2内空气的对流作用,减少了热量的散失,干燥过程中出料口23上的密封门关闭,干燥完成后打开密封门使土壤排出。

30

装备制造经验

立即免费获取土壤修复方案

为用户提供及时、高效、便捷的服务

在线咨询
AG亚游环境希望与你携手,共创美好未来...
5