公司动态

了解最新公司动态及行业资讯

循环式流体热脱附土壤污染处理装置

2017-11-14 03:24:56 159 编辑:admin 来源:本站
  目前污染土壤的修复技术应用较为广泛的主要有土壤气象抽提、淋洗、热脱附等,并且这三者均能处理挥发和半挥发性有机污染场地。在土壤粒度较小及空间异质性较大的地区,土壤气象抽提和淋洗均不能有效的去除土壤污染物,而热脱附技术不受到这些因素的影响,有着较为广泛的适用性:并且,相对于气相抽提、淋洗需要多次处理,土壤污染热脱附技术能够一次性处理土壤污染物。环保部发布的《污染场地修复技术应用指南》指出热脱附技术能高效去除有机污染物,去除率可达99.98%以上。
  目前进入实用阶段的热脱附技术有滚筒式热脱附技术、流化床式热脱附技术、燃气热脱附技术、电热脱附技术等,但热源选择不灵活,加热方式不安全,有必要对其进行改进。
  本实用新型的目的在于针对现有技术中的不足,提供一种循环式流体热脱附土壤污染处理装置,填补现有技术尚无法灵活选用电或燃料作为热源加热土壤污染位点技术,填补目前无法利用加热的高沸点液体作为热传递媒介加热土壤污染位点的技术空白。
  一、本实用新型所解决的技术问题可以采用以下技术方案来实现:
  一种循环式流体热脱附土壤污染处理装置,所述设备包括:
  一用于加热高沸点液体的加热器,
  一用于将所述高沸点液体输送至目标污染点位,且将流经目标污染点位后的高沸点液体回流至所述加热器的循环管路;
  一用于提供流体动力的循环泵。
  进一步的,所述加热器包括用于容纳高沸点液体的槽体,在所述槽体内安装有用于加热高沸点液体的加热设备、以及在对加热过程进行温度调控的温控设备:
  所述加热设备包括电阻加热机构或燃气加热机构;
  所述温度控制机构包括温度传感器和控制器,控制器分别与温度传感器以及加热机构相接。
  进一步的,所述加热器设有可外接循环泵和循环管路的接口,所述接口采用耐热性耐腐蚀材料制作,在接口中设有用于控制高沸点液体流出流入的阀门,接口上设有用于与循环泵和循环管路拼接连接件。
  进一步的,所述循环管路通过循环泵与加热器连接,循环管路包括用于输送高沸点液体的内部管道,在所述内部管道的外部设有保温套。
  进一步的,在所述加热器和循环管路上设有用于保温的硅酸铝棉。
  二、与现有技术相比,本实用新型土壤热脱附装置的有益效果如下:
  1.该处理系统采用电加热或者燃料加热,热源获取更加灵活、便捷;
  2.该处理系统采用导热流体循环式加热,加热后的流体通过循环泵提供动力能够将热量高效的传输到需加热位点,传热效率高;
  3.该处理系统的循环管路可通过钻孔插入地下或土堆,可以用于原位或异位场地修复;
  4.该处理系统在地上加热液体,而不是将加热管埋入地下的方式加热;此外,该系统采用集中式加热,多个循环管路可共用一个加热装置,便于集中式管理,相对较为安全;
  5.由于该处理系统通过温控设备精确调节、控制加热器内温度,节省成本。
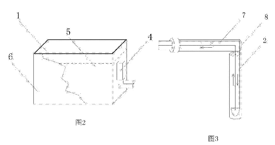
  三、附图说明
循环式流体热脱附土壤污染处理装置的处理装置的工作示意图循环式流体热脱附土壤污染处理装置的处理装置的工作示意图
  图l为循环式流体热脱附土壤污染处理装置的处理装置的工作示意图。
  图2为循环式流体热脱附土壤污染处理装置的加热器的结构示意图。
  图3为循环式流体热脱附土壤污染处理装置的循环管路的结构示意图。
  图中标号说明:加热器l、循环管路2、循环泵3、温控设备4、高沸点液体5、槽体6、内部管道7、保温套8。

30

装备制造经验

立即免费获取土壤修复方案

为用户提供及时、高效、便捷的服务

在线咨询
AG亚游环境希望与你携手,共创美好未来...
5